
Sony patenteia tecnologia que permite que jogos do PlayStation se joguem sozinhos usando IA
Sistema chamado “Ghost Player” criaria uma versão controlada por IA do personagem para demonstrar ou completar trechos difíceis do jogo.
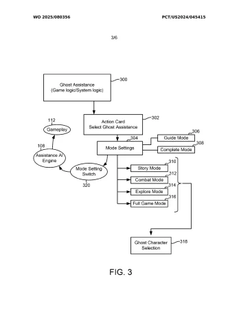
A Sony registrou uma nova patente que descreve um sistema capaz de fazer com que jogos do PlayStation literalmente se joguem sozinhos, usando uma versão controlada por inteligência artificial do personagem do jogador. O recurso, chamado de Ghost Player, permitiria que o usuário acionasse um “fantasma” gerado por IA que poderia tanto demonstrar a solução de uma parte específica do jogo quanto completá-la automaticamente, dependendo da escolha do jogador. A patente foi originalmente registrada em setembro de 2024, mas só agora recebeu atualização pública pela Organização Mundial da Propriedade Intelectual.
Na prática, o funcionamento seria dividido em dois modos principais. O primeiro, o chamado “Guide Mode”, faria com que o Ghost Player mostrasse a solução na tela, como se fosse um assistente jogável. Por exemplo, se alguém estivesse travado em um puzzle de Uncharted, o próprio Nathan Drake controlado pela IA executaria a solução, permitindo que o jogador observasse e depois repetisse a ação. Já o “Complete Mode” iria além: nesse caso, a IA realizaria a seção inteira por conta própria, sem exigir que o jogador intervenha. A proposta funciona como uma evolução natural do sistema PS5 Game Help, que já disponibiliza dicas, vídeos e imagens dentro do console, mas que nunca chegou ao ponto de “assumir o controle” da partida.

Vale lembrar que recursos de acessibilidade e assistência já são comuns em vários jogos. Sistemas que permitem pular lutas, baixar dificuldade automaticamente ou pedir dicas existem há anos, especialmente em jogos de ação e puzzles. Ainda assim, a iniciativa da Sony lembra discussões recentes sobre excesso de ajuda em títulos como God of War Ragnarök, onde companheiros de IA foram criticados por revelarem soluções de puzzles rápido demais, tirando parte da descoberta do jogador.
A novidade aqui é que o Ghost Player não seria uma sequência de ações predefinidas pelo desenvolvedor, mas sim um sistema treinado em gameplay real, utilizando imagens e vídeos para orientar seu comportamento. Isso tornaria o recurso mais flexível e potencialmente aplicável a jogos complexos, sem exigir que os estúdios programassem manualmente cada solução.
Por enquanto, não há qualquer indicação de que a Sony planeje implementar essa tecnologia no PlayStation 5 ou em hardware futuro. Assim como muitos registros de patentes, tanto da Sony quanto de outras gigantes da indústria, a ideia pode muito bem ser apenas exploratória, sem garantia de virar produto. Mas a publicação chama atenção pela proximidade com outras iniciativas que começam a aparecer no mercado.
No ano passado, por exemplo, a Microsoft apresentou o Copilot for Gaming, descrito como um “companheiro de jogo movido por IA” capaz de ajudar jogadores inexperientes, sugerir ações, explicar mecânicas e até instalar jogos mediante comando. Um exemplo oficial mostrou um jogador perguntando: “O que posso fazer com madeira no Minecraft?” e recebendo uma resposta contextual. Em outro, o usuário pediu para reinstalar Age of Empires IV pelo app mobile, e a IA não só fez isso como ofereceu um resumo da última jogatina.
Com tantas empresas experimentando formas diferentes de integrar IA diretamente à experiência de gameplay, a patente do Ghost Player sugere que o futuro dos videogames pode caminhar para sistemas cada vez mais assistidos, algo que agrada parte da comunidade e preocupa outra. Resta saber se a Sony vai levar essa tecnologia adiante ou se ela ficará, como tantas outras, apenas arquivada nos registros de patentes.






